|
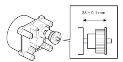
问题:滚筒不能从原位移除。没有错误代码。偶尔发生版纸卡纸。原因1:主电机驱动齿轮顶端螺丝松动(轴上 )措施1: 拧紧顶端螺丝。
原因2:滚筒驱动磨损。措施2:更换滚筒驱动。
|
相关文章
理光6503,7503,9003测试代码,电机测试
5-804-001送纸电机 15-804-002 送纸电机 25-804-003 送纸电机 35-804-004 送纸电机 45-804-005 手送送纸离合器...
理光维修 快回来 125
理光6503,7503,9003 SC错误代码全集
SC100:扫描SC101-01D曝光灯错误:前部扫描参考白板上的检测电平峰值过低。•LED曝光灯不良•透镜块上的SBU(LED驱动器)不良•BICU不良•电源...
理光维修 快回来 153
理光MP W7100SP/8140SP工程机用粉量大
问:原装粉1支粉打印不到2千米,打开机器发现漏粉到转印辊上很多,拆下显影清理ID传感器后3103Vsp数值0.07会不会太低了还得下粉量大?...
理光维修 快回来 88
理光复印机最新固件升级方法合集
最新版理光现有机型固件升级方法合集。注意:无论使用以下何种方式进行固件升级,在升级过程中都切勿关机,此操作会造成机器硬件损坏。二、A3机型固件升级用SD卡的制作...
理光维修 快回来 800
理光复印机基础原理,成像原理与复印机基础,色彩基本原理
理光复印机基础原理,成像原理与复印机基础,色彩基本原理1、成像原理与复印机基础 2、色彩基本原理3、机器测试样图打印4、零件手册使用培训教材5、点点图使用方法M...
理光维修 快回来 802
理光DD3344C基士得耶CP6303C报代码E-02
症状:基士得耶 cp6303c 机器印刷时报故障 E-02原因:1、纸台电机问题、纸台驱动不良;2、纸台高度传感器,纸台下限传感器不良;3、主板不良。4、线束接...
理光维修 快回来 862
SLNXv3_导出包含大量工作流和组的配置文件配置不会启动下载,并且无法显示
问题:导出包含大量工作流和组的配置文件配置不会启动下载,并且无法显示。 发生的条件:用户尝试导出包含大量工作流和组的概要文件配置。 原因:由于正在处理的组和工作...
理光维修 炒不炒菜 758
理光IM C320F_P C375_M C320FW内存清除后鼓单元设置错误的解决方案
理光IM C320F_P C375_M C320FW内存清除后鼓单元设置错误的解决方案症状当执行内存清除:全部清除(SP:5-801-001)时,例如由于忘记登...
理光维修 快回来 132
留言评论取消回复

